行业知识

  • 电接点水位计显示面板不准

    由于水和汽的导电性能差别极大,以发电厂锅炉汽包为例,一般水阻在几十KΩ,汽阻在1MΩ以上,测量筒的作用就是将水位的高低通过电接点阻值的变化,转换为电信号送至二次仪表进行运算和逻辑判断,最后以发光二极管和数码管准确显示水位值。

    2024-07-23 mk体育在线注册,mk体育(中国)

  • 启动油和速关油的油路如何动作?【速关电磁阀】

    先了解电磁阀的结构和油路,电磁阀看懂了,整个油路的动作过程也就都明白了

    2024-07-22 mk体育在线注册,mk体育(中国)

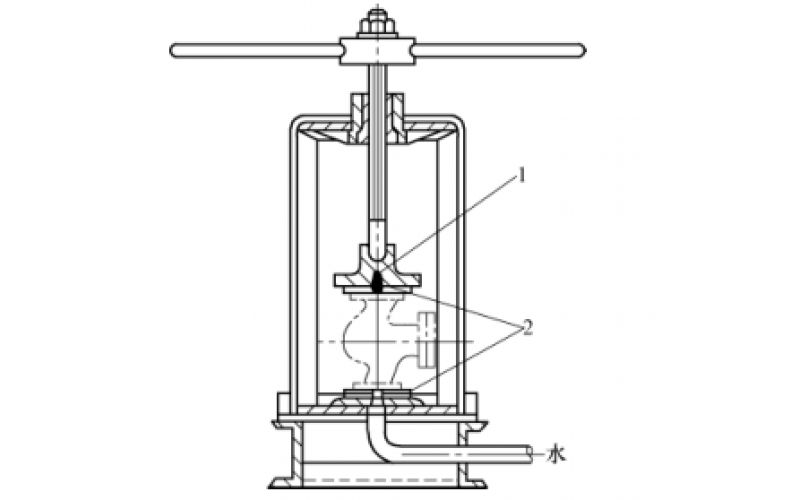
  • 阀门怎样进行强度试验和严密性试验?

    阀门的强度试验和严密性试验一般在如图1所示的阀门水压试验台上进行。

    2024-07-19 mk体育在线注册,mk体育(中国)

  • 如何理解阀门安装前的强度和严密性试验?

    阀门安装前,应作强度和严密性试验。试验应在每批(同牌号、同型号、同规格)数量中抽查10%,且不少于一个。对于安装在主干管上起切断作用的闭路阀门,应逐个作强度和严密性试验。

    2024-07-19 mk体育在线注册,mk体育(中国)

  • 110kV备自投试验方案

    一、分段自投: 1.备自投充电条件:110kV侧1#进线171开关合位,110kV侧2#进线173开关合位,110KV侧母联170开关跳位,投入分段自投,备自投投入,待备投充满电后。

    2024-07-19 mk体育在线注册,mk体育(中国)

  • 百分浓度g/L和摩尔浓度mol/L之间的换算关系

    质量百分浓度:单位体积混合物中某组分的质量 单位体积混合物中某组分的质量称为该组分的质量浓度,以符号ρ表示,单位为kg/m3。 组分Gi的质量浓度定义式为ρn=Gi/V。式中Gi——混合物中组分i的质量,单位kg;V——混合物的体积,单位m3。 简单的说,是某种成分越多,质量浓度越高。溶质的质量×100%/溶液质量。常见的单位有mg/L、g/mL、ppm、ppb、ppt等等;

    2024-07-17 mk体育在线注册,mk体育(中国)

  • 压力变送器量程迁移与稳定性有关系吗?

    有些企业购买的压力变送器允许100倍的量程迁移,将变送器量程向下迁移20倍后使用,发现变送器稳定性差,后恢复标准量程后使用,并未出现变送器稳定性问题,这是什么原因?在本文和大家聊聊哪些因素导致压力变送器量程向下迁移后稳定性变差,将对正确进行变送器量程迁移有帮助。

    2024-07-17 mk体育在线注册,mk体育(中国)

  • 发电机的保护功能及作用

    1. 纵差动保护:纵向对比发电机端与中性点的电流,发电机定子绕组及其引出线相间短路故障的主保护。 2. 横差动保护:横向对比分支电流,反映发电机定子绕组一相匝间短路和同一相两关联分支间的匝间短路故障。

    2024-07-17 mk体育在线注册,mk体育(中国)

首页
产品
新闻
联系